磁気飽和についての概略
鉄のような強磁性体に磁界Hを0から加増すると、下図のように磁束密度Bが磁界Hに対して増加する。

図:磁化曲線(B-H曲線)
さらに磁界Hが大きくなるとBの増加量が小さくなって、ついにはBは飽和し一定値に達する現象を磁気飽和という。
計算式からわかる磁気飽和
磁束密度Bと磁界Hの関係は、
B = μH [T]
※BがHに比例関係にある間は磁束密度μは一定
しかし、飽和という現象が示すように、磁束密度μは常に一定ではない。
この「磁束密度Bは一定の磁界H以上に増加しない」ことを磁気飽和現象という。
ヒステリシスループによる磁気飽和の説明

磁気飽和は透磁率μで整理する。
透磁率μは、真空の透磁率μ₀[H/m]と真空以外の一般の物質の透磁率μsとの積で表される。
μs=μ/μ₀
→μ=μs・μ₀[H/m]
したがって、鉄心が磁気飽和する前は、透磁率μは一定になり比透磁率μS によって磁束密度が決まる。
磁気飽和した場合、真空の透磁率μ0 が優勢となりμが小さくなる。
鉄のような磁性体にはヒステリシス特性がある(上図:ヒステリシスループ参照)。
磁気飽和の実例まとめ

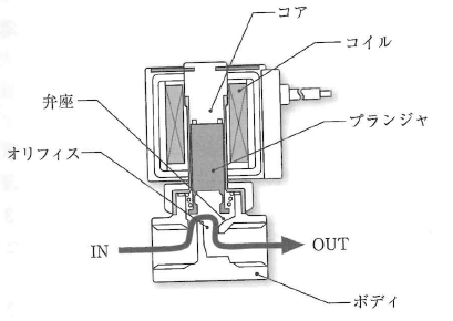
- 通電中の電磁弁コイルを持ち上げてプランジャから引き離されたとき,
電磁弁コイルが 焼損する現象

- 進相コンデンサ用直列リアクトルの磁気飽和

- 短絡事故時の計器用変流器 (CT) の磁気飽和

④ 変圧器の励磁突入電流

直列リアクトルの磁気飽和について(参考)

進相コンデンサ用直列リアクトルは, 鉄心部にエアギャップを設けた空隙付き鉄心入りリアクトルのため
必要以上に大きな電流が流れると, 鉄心の磁気飽和現象によりインダクタンスLが低下する。
現実にはまれだが過電流による磁気飽和が現れ, 直列リアクトルのリアクタンスが低下する。
なお, 進相コンデンサには, 商用周波数の電流のほかに高調波電流が重畳して流れているが
高調波の流入量が大きくなると合成電流は過電流となる。
このため, 過電流によるリアクタンス低下により電源系統との間に高調波共振が発生して
異常な高調波過電流が進相コンデンサ回路に流入する現象を誘発することがある。
主な対策
JIS 改正により, これに対応できる直列リアクトル高調波耐量タイプが追加されため高調波過電流が懸念されるところははこの高調波耐量タイプを採用することで障害を防止できる。

コメント