バイパスダイオードは、太陽光発電システムにおいて非常に重要な役割を果たす半導体素子。
主に太陽電池モジュール(パネル)の内部に組み込まれている。
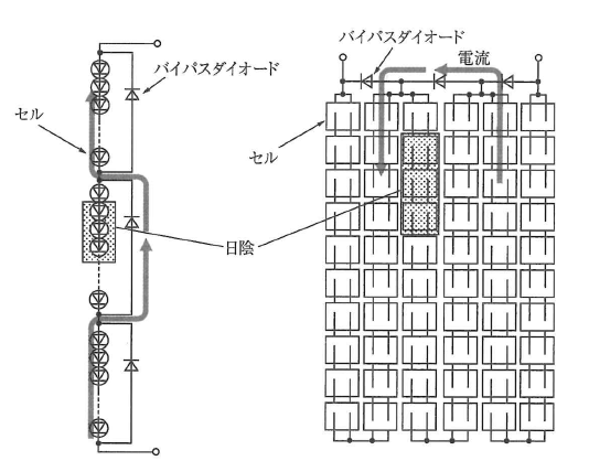
セルに特性劣化が発生したり、建物などでモジュールに影ができたりした場合
接続されているすべてのセルの電圧が印加され、発熱することがある。
それを少しでも防止するために、モジュールにバイパスダイオードを設置することがある。
バイパスダイオードの役割

バイパスダイオードの主な役割は、以下の2点。
ホットスポットの防止とパネルの保護
太陽電池モジュールは、複数の太陽電池セルを直列に接続して作られている。
もし、モジュール内の一部のセルに影がかかったり、故障したりすると、そのセルは発電能力を失い
抵抗体として振る舞い始める。この状態になると、他の正常に発電しているセルから流れてくる電流が
影になったり故障したセルを無理やり通過しようとするため、そのセルに大きな負荷がかかる。
これにより、そのセルが局所的に異常な発熱を起こす「ホットスポット」現象が発生する可能性がある。
ホットスポットは、セルの劣化や破損、ひどい場合には発火につながる危険性がある。
バイパスダイオードは、このホットスポットの発生を防ぎ、モジュールを損傷から保護する役割を担っている。
発電量の維持
一部のセルが影になったり故障したりして電流が流れにくくなると
ストリング(直列に接続されたモジュール群)全体の発電量が大きく低下してしまう。
バイパスダイオードは、発電できなくなったセルを「バイパス(迂回)」させることで
他の正常なセルからの電流がスムーズに流れるようにし
システム全体の発電量の低下を最小限に抑える効果があります。
バイパスダイオードの仕組み

バイパスダイオードは、発電できなくなったセルや
セルがまとまった「クラスタ」と呼ばれる部分に対して
並列に接続されている。
- 正常時
太陽光が均一に当たり、すべてのセルが正常に発電している場合
バイパスダイオードには電流は流れない。
電流は抵抗の少ない太陽電池セルを通り、直列回路を流れていく。 - 異常時(影や故障など)
一部のセルに影がかかるなどして発電量が低下したり
故障したりすると、そのセルの抵抗が大きくなる。
このとき、バイパスダイオードは、抵抗が大きくなったセルを迂回するように電流が流れる経路を提供する。
電流は、発電できなくなったセルを避け、バイパスダイオードを通って流れるため
ストリング全体の電流が途切れることなく流れ続ける。
これにより、発電できなくなったセルがホットスポットになるのを防ぎ
同時に他のセルの発電を妨げることなく
システム全体の発電能力を維持することができる。
バイパスダイオードの種類

太陽光発電で使われるバイパスダイオードには
ショットキーバリアダイオードが多く採用されている。
これは、順方向電圧降下が小さく高速でスイッチングできるという特徴があるためである。
バイパスダイオードの故障と点検の重要性

バイパスダイオード自体も故障することがある。
主な故障の種類としては、「開放故障(断線)」や「短絡故障(ショート)」がある。
- 開放故障
バイパスダイオードが断線すると、影や故障が発生したときに電流を迂回させることができなくなるため
ホットスポットの発生リスクが高まる。 - 短絡故障
バイパスダイオードがショートすると、常にその部分を電流が流れてしまい
本来その部分のセルが発電するはずだった電力が失われるため、発電量低下の原因となる。
バイパスダイオードの故障は、
発電量の低下や最悪の場合の火災などにつながる可能性があるため定期的な点検が非常に重要となる。

上図:バイパスダイオードを設置したモジュール
太陽光発電所 メンテナンスガイド
p15 太陽光発電所より画像引用
参考資料
一般社団法人電気学会
用語解説 第97回テーマ: バイパスダイオードより画像引用

コメント